服务热线:
4006-598-119
您的位置: 首页>>产品展示>>其它配件

海湾LZ10001手动火灾报警按钮防雨罩

简要描述:

  • 更新时间:2024-08-05 14:47:18
  • 访  问  量:12392
详细介绍

LZ10001手动火灾报警按钮防雨罩产品介绍

  LZ10001手动火灾报警按钮防雨罩是不锈钢材质。这款防雨罩需要与LZ1000手动报警按钮立柱配套使用,适用于在室外安装安装本安型手动报警按钮,防护等级IP65。可配套产品:J-SAB-G1(Ex)、J-SAF-GST9211(Ex)手动火灾报警按钮。

  LZ10001型防雨罩与LZ1000型立柱配套使用。LZ10001型防雨罩防护等级IP65,其外形示意图如图1-13所示。

LZ10001手动火灾报警按钮防雨罩外形

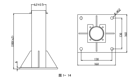
  LZ1000型立柱的外形示意图如图1-14所示。

LZ1000型立柱的外形示意图

  LZ10001型防雨罩与LZ1000型立柱配套安装示意图如图1-15所示。

LZ10001型防雨罩与LZ1000型立柱配套安装示意图

  布线要求:电缆均选用截面积≥1.0mm2的本安电缆,且电缆间分布电容不得大于0.083μF,分布电感不得大于4.0mH。

留言框

  • 产品:

  • 留言内容:

  • 您的单位:

  • 您的姓名:

  • 联系电话:

  • 常用邮箱:

  • 详细地址:

本文标签:
在线咨询 联系方式 二维码

服务热线

4006-598-119

扫一扫,关注我们

Baidu
map